Transmission of rotational movements – Basics of couplings
When shafts and axes are coupled in a machine, there is always a misalignment between the centre points of the shafts. The coupling compensates for this alignment error by the elasticity of the component or mechanical element during rotation or power transmission. Whether you are an experienced engineer or just diving into the world of mechanical engineering, this article gives you a comprehensive insight into the basics of couplings.
Function of couplings
Couplings are components in drive technology that connect two machine elements. They are used to transfer rotational movements from a driving component to a driven component. By using shaft couplings, mechanical engineers can ensure that torques are transmitted effectively and safely.
When shafts and axes are coupled in a machine, there is always a misalignment between the centre points of the shafts. The coupling compensates for this alignment error by the elasticity of the component or mechanical element during rotation or power transmission.
The task of the coupling is to compensate for alignment errors and to prevent excessive stress on the motor.
In mechanical engineering, mainly non-switchable, positive-locking couplings are used, which can be provided with elastic plastic or spring-based elements to compensate for alignment errors or to dampen vibrations and shocks.
- (1)- Motor
- (2)- Rotation of the motor
- (3)-Coupling
- (4)- Shaft rotation
- (5)- Pole screw
Couplings with compensating function
Couplings with compensating function are a special type of couplings that serve to compensate for alignment errors between the driving and driven component. These couplings are particularly important to ensure the transmission of rotational movements in these cases and to avoid damage to the machine elements.
Depending on the characteristics of the coupling, various types of alignment errors (axial play, radial offset, angle offset) can be compensated.
There are various types of compensating couplings, including slit coupling, disc coupling, Oldham coupling, claw coupling, bellow coupling and couplings with vibration dampers. Despite their different design, all couplings with compensation function have in common that they have elastic materials or flexible sub-components that compensate for the alignment errors.
| Small | Large | |
|---|---|---|
| Radial offset | ![]() |
![]() |
| Angular offset | ![]() |
![]() |
Rigid couplings
Another type of coupling is the rigid coupling. Rigid couplings have no compensating function and serve to connect two machine elements. They are particularly suitable for applications where alignment of the components to be connected is very precise or minor alignment errors can be ignored.
Rigid couplings consist of two fastening devices (e.g. hub clampings) and a solid element in between that connects the two components. The coupling ensures a direct transfer of torque between the shafts and is therefore ideal for drive applications where high precision and torsional rigidity is required.
Although rigid couplings do not have a compensating function, they still offer some advantages over other coupling types. They are easy to install, maintenance-free, durable and can be easily replaced if required.
Application areas of couplings
Couplings are essential for the smooth functioning of machines when it comes to joining or coordinating the various drive components.
For example, drive shafts and rotation shafts transfer the torque from the motor to other components, while parallel keys establish a secure connection between the shafts.
Toothed belts and gear wheels ensure precise motion transmission, while compensating couplings can, in addition to power transmission, also compensate for shaft misalignment or reduce vibrations. Gear wheels enable different speeds to be achieved or force to be converted in different directions.
Magnetic couplings offer contactless transfer of torque and can be quickly disconnected if necessary.
Drive chains are robust alternatives to belt drives and are particularly well suited for heavy loads.
Coupling assembly
The coupling can be installed in different ways. At MISUMI, couplings with hub clamping, half shell clamping, slot clamping, grub screw clamping, spring pins or keyways can be implemented, which enables a variety of attachment and type of combinations.
Application examples
Couplings are utilized in a wide range of applications.
- (1)- Servo motor
- (2)- Disc coupling (servo coupling)
- (3)- Ball screw drive
- (1)- Bearing with housing
- (2)- Shaft coupling
- (3)- Motor
- (4)- Axles/shafts
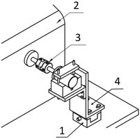
- (1)- Positioning stage X-axis
- (2)- Performance test station
- (3)- Shaft coupling
- (4)- Holders, L-shaped
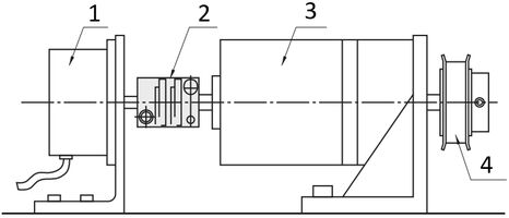
- (1)- Motor
- (2)- Shaft coupling
- (3)- Conversion/reducing gear unit
- (4)- Synchronous pulley



