Spacer sleeves and spacer discs – Materials and shapes
Spacer sleeves and spacer discs are important elements for joining and design engineering solutions. They perform several tasks: They are spacers, distribute incident forces, secure components and are needed for precision adjustments. In addition to classic metal washers, this article also discusses other special shapes and configuration options, such as round plates.
Spacer Sleeves and Spacer Discs
Spacer sleeves and spacer discs, also called spacer bushings, primarily act as spacers in relation to a specified position. Spacer sleeves and spacer discs are usually fastened with a screw inserted through the inner diameter of the sleeve or disc. They are usually not stamped, as is otherwise common for metal washers (find here more information), but are instead roll-formed and have a precise length. The length tolerance (also precision class) is up to ± 0.01 mm. Due to their high precision, some can even be used as a bearing sleeve for rolling bearings.
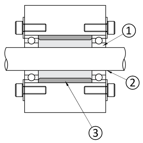
One application example for spacer sleeves is their use in a shaft:
A spacer sleeve or spacer disc can also be used as a spring plate, for example to act as a support or stop for a compression spring.
For more information on the different types of shaft attachment and shaft ends, please also read our article “Linear Shafts: Shaft ends and linear shaft mounting options.”
Round Plates
Round plates are round metal discs with holes that are thicker than washers or spacer discs and have a larger diameter. They are used e.g. as end washers in shaft guides for securing or clamping. For this purpose, we recommended using them in applications that require high positioning accuracy and securing. As shaft end washers, round plates also take on the task of protecting against mechanical damage and preventing the ingress of dirt or dust. Round plates are particularly suited in applications with high loads or where the surfaces of the components are particularly sensitive. They also distribute forces over a larger surface.
The Importance of Standardized Parts
Standardized parts, such as standardized discs, are standardized elements that play a large role in manufacturing and design engineering. The standardization ensures uniformly high quality and compatibility (find more information here). Standardized parts simplify the assembly and replacement of standardized parts. For example, various standards apply to spacer discs:
- DIN 125 / ISO 7089: Standardized washers for general-purpose applications that are used as washers for threaded connections.
- DIN 988: Shim washers with defined thickness for precise spacing requirements. They are used e.g. between retaining rings and locking washers to compensate for the play when securing components axially.
- DIN 7349: Reinforced washers for screws with higher loads. They provide a larger contact area and increase resistance to high forces and torques.
Configuration options
Standardized parts are sufficient for many applications. Nevertheless, they often reach their limits when requirements are elevated: a specialized solution is needed in this case. Customized components permit solutions to specific challenges. MISUMI has different configuration options for spacer discs and spacer sleeves. Some of the most important variants and their characteristics are described below.
Material selection for spacer discs and spacer sleeves
MISUMI has non-hardened and hardened discs and sleeves. Hardness affects wear: the harder the material, the more resistant the sleeves and washers are to deformation and wear. The choice of material also has an influence: stainless steel spacer sleeves and stainless steel spacer discs are suited for corrosive environments. MISUMI can also configure spacer discs and spacer sleeves made of plastic, ceramic, rubber, felt or thermally insulating materials for special environmental conditions. The use of rubber and felt is advantageous, for example, for applications that require vibration absorption or antistatic properties.
Spacer sleeves with special shapes
Spacer sleeves are cylindrical components. They are used to create a certain distance between two components. Special shapes may include:
- Conical/Cylindrical -Cylindrical spacer sleeves are the standard shape and are suited for most industrial applications. Conical spacer sleeves have a tapered shape.
- Internal and external thread Spacer Sleeves with internal threads act like a nut to facilitate threaded connections. Additional nuts and screws can be omitted.
- Special Shape Washer - Suited for shaft attachment on the shaft end.
- Spacer sleeve with flange - Flanges provide a larger contact surface and can act as a stop.
At MISUMI, sleeves with collar can be configured in the shape of a flange. The height of the collar is specified with tolerances and can be used for precise distance requirements.
Configurable Shim Washers
MISUMI supplies shim washers made of steel, stainless steel, spring steel and brass. The available accuracy ranges from ± 0.11 to ± 0.003 mm, which allows components to be adjusted very accurately. Please find more information about tolerance classes according to ISO 22081 and DIN ISO 2768 in our our blog.Inside diameters are available from 2 to 130 mm and outside diameters from 3 to 160 mm. MISUMI supplies standardized shim washers in various shapes and designs, standardized shim washers according to DIN 988, and configurable shim washers. Configured shim washers can be found in the MISUMI Shop, for example using the search term #CIMA.
Metal discs by Precision Class
MISUMI allows you to configure spacer discs and spacer sleeves to your specifications. The distance between two components can be adjusted very accurately with precision-manufactured spacer sleeves. If several sleeves are required, there are also simultaneously ground spacer sleeves of the same length, at least as a set of two. This allows a flat surface to be formed, reducing play due to a height difference of less than ± 5μ.
The following figures show the difference between the standard and precision version of spacer discs and spacer sleeves from MISUMI:
You can find user-configurable metal discs in the online shop, e.g. using the search term #FWS.
Overview of Discs and Sleeves in the MISUMI Shop
MISUMI offers a wide range of metal discs and metal sleeves. The following table provides an overview of variants and configuration options:
| Shape | Note | Example | Range | Tolerance | Tolerance | Type | ||
|---|---|---|---|---|---|---|---|---|
| Disc | Metal disc |
- Selectable dimension T - Dimensions selectable depending on T |
![]() |
Thickness T from 1 to 10 mm |
Standard class | Dimension T: ±0.1 mm | Dimension V: 0.3 mm/0.1 mm Dimension D: 0/-0.2 mm |
WSSB, WSSM, WSSS |
| - Dimension T configurable (in increments of 0.5 mm) - Dimensions configurable |
TWSSB, TWSSM, TWSSS | |||||||
| Dimensions configurable | FWS, FWSSC, FWSSB, FWSSM, FWSSR, FWSSA, FWSSAB, FWSBB, FWSSS, FWSSSR, FWSUS | |||||||
| Metal disc selectable tolerance |
Dimensions configurable Tolerance of dimensions D and V selectable |
![]() |
Thickness T from 1 to 10 mm |
Standard class | Dimension T: ±0.1 mm | Dimension V selectable: Tolerance (H): H7 Tolerance (N): 0.3 mm/0.1 mm Tolerance (X): (0.2 mm/0) Dimension D selectable: Tolerance (G): g6 Tolerance (H): h7 Tolerance (N): -0.1 mm/-0.3 Tolerance (X): 0 mm/-0.2 |
SWSC, SWSB, SWSM, SWSS | |
| Precision class | Dimension T: ±0.01 mm | SWMC, SWMB, SWMM, SWMS | ||||||
| Metal disc | - Selectable dimension T - Dimensions selectable depending on T |
![]() |
Thickness T from 1 to 10 mm |
Precision class | Dimension T: ±0.01 mm | Dimension V: 0.3 mm/0.1 mm Dimension D: 0/-0.2 mm |
WASB, WASM, WASS | |
| - Dimension T configurable (in increments of 0.5 mm) - Dimensions configurable |
TWASB, TWASM, TWASS | |||||||
| Dimensions configurable | FWAS, FWASC, FWASB, FWASM, FWASR, FWASA, FWASS, FWASSR, FWASU | |||||||
| Metal disc hardened version |
- Selectable dimension T - Dimensions selectable depending on T |
![]() |
Thickness T from 1 to 10 mm |
Standard class | Dimension T: ±0.1 mm | Dimension V: 0.3 mm/0.1 mm Dimension D: 0/-0.2 mm |
WSSBH, WSSMH, WSSSH | |
| - Dimension T configurable (in increments of 0.1 mm) - Dimensions configurable |
FWSSCH, FWSSBH, FWSSMH, FWSSK, FWSSKB, FWSSKM, FWSSSH, FWSSSHR | |||||||
| - Selectable dimension T - Dimensions selectable depending on T |
Precision class | Dimension T: ±0.01 mm | WASBH, WASMH, WASSH | |||||
| - Dimension T configurable (in increments of 0.1 mm) - Dimensions configurable |
FWASCH, FWASBH, FWASMH, FWASK, FWASKB, FWASKM, FWASSH | |||||||
| Metal disc selectable tolerance |
- Dimension T configurable (in increments of 0.1 mm) - Dimensions configurable |
![]() |
Thickness T from 1 to 10 mm |
Standard class | Tolerance selectable: Tolerance (B) = dimension T: -0.1 mm/-0.3 mm Tolerance (C) = dimension T: 0.3 mm/0.1 mm Tolerance (D) = dimension T: 0/-0.2 mm Tolerance (E) = dimension T: 0.2 mm/0 |
Dimension V: 0.3 mm/0.1 mm Dimension D: 0/-0.2 mm |
AWSC, AWSB, AWSM, AWSS, AWSH | |
| - Dimension T configurable (in increments of 0.1 mm) - Dimensions configurable |
Precision class | Tolerance selectable: Tolerance (SB) = dimension T: -0.01 mm/-0.03 mm Tolerance (SC) = dimension T: 0.03 mm/0.01 mm Tolerance (SD) = dimension T: 0/-0.02 mm Tolerance (SE) = dimension T: 0.02 mm/0 |
||||||
| - Dimension T configurable (in increments of 0.1 mm) - Dimensions configurable |
High precision class | Tolerance (A) = dimension T: ±0.005 mm | ||||||
| Metal disc with flange |
- Dimension L configurable (in increments of 0.1 mm) - Dimensions configurable |
![]() |
Dimension L from 2 to 10 mm |
Standard class | Dimension L: 0/-0.3 mm | Dimension T: ±0.1 mm Dimension H: 0/-0.2 mm Dimension V: 0.3 mm/0.1 mm Dimension D: 0/-0.2 mm |
FTCSS, FTCC, FTCB, FTCM, FTCSK, FTCSKB, FTCSKM, FTCS | |
| Precision class | Dimension L: ±0.01 mm | FTCMC, FTCMB, FTCMM, FTCMS | ||||||
| With cylinder counterbore | - Selectable dimension T - Dimensions selectable depending on T |
![]() |
Thickness T from 6 to 20 mm |
Standard class | Dimension T: ±0.1 mm | Dimension H: ±0.1 mm Dimension V: 0.3 mm/0.1 mm Dimension D: 0/-0.2 mm Dimension P: 0.3 mm/0.1 mm |
WZAB, WZAM, WZAS, WZABH, WZAMH, WZASH | |
| - Dimension T configurable (in increments of 0.5 mm) Dimensions selectable depending on T |
Thickness T from 3 to 20 mm |
TWZAB, TWZAM, TWZAS | ||||||
| - Dimension T configurable (in increments of 0.5 mm) - Dimensions configurable |
Thickness T from 3 to 50 mm |
FWZASS, FWZAC, FWZAB, FWZAM, FWZAA, FWZAAB, FWZAS, FWZACH, FWZABH, FWZAMH, FWZASK, FWZASKB, FWZASKM, FWZASH | ||||||
| With cylinder counterbore | - Dimension T configurable (in increments of 0.5 mm) Dimensions selectable depending on T |
![]() |
Thickness T from 3 to 20 mm |
Precision class | Dimension T: ±0.01 mm | Dimension T: ±0.01 mm Dimension H: ±0.1 mm Dimension V: 0.3 mm/0.1 mm Dimension D: 0/-0.2 mm Dimension P: 0.3 mm/0.1 mm |
TWZSB, TWZSM, TWZSS | |
| - Dimension T configurable (in increments of 0.1 mm) - Dimensions configurable |
Thickness T from 3 to 50 mm |
FWZSC, FWZSB, FWZSM, FWZSS | ||||||
| Threaded | - Selectable dimension T - Dimensions selectable depending on T |
![]() |
Thickness T from 3 to 20 mm |
Standard class | Dimension T: ±0.1 mm | Dimension D: 0/-0.2 mm | WTAB, WTAM, WTAS | |
| - Dimension T configurable (in increments of 0.5 mm) - Dimensions selectable depending on T |
TWTAB, TWTAM, TWTAS | |||||||
| - Dimension T configurable (in increments of 0.5 mm) - Dimensions D between 6 and 100 mm configurable - M2 to M30 selectable |
Thickness T from 3 to 50 mm |
FWTAC, FWTAB, FWTAM, FWTAA, FWTAAB, FWTAS | ||||||
| counterbore/recessed screw head |
- Selectable dimension T - Dimensions selectable depending on T |
![]() |
Thickness T from 2.5 to 8 mm |
Standard class | Dimension T: ±0.1 mm | Dimension E: ±0.1 Dimension V: 0.3 mm/0.1 mm Dimension D: 0/-0.2 mm |
WSRB, WSRM, WSRS | |
| - Dimension T configurable (in increments of 0.5 mm) - Dimensions configurable |
Thickness T from 2 to 10 mm |
FWSRC, FWSRB, FWSRM, FWSRA, FWSRS | ||||||
| With screw holes | - Dimension T configurable (in increments of 1 mm) - Dimensions configurable |
![]() |
Thickness T from 1 to 10 mm |
Standard class | Dimension T: ±0.1 mm | Dimension V: 0.3 mm/0.1 mm Dimension D: 0/-0.2 mm |
WBAC, WBAB, WBAM, WBAA, WBAS | |
| Shape freely selectable | - Dimension T configurable (in increments of 0.1 mm) - Dimensions configurable |
![]() |
Thickness T from 3 to 10 mm |
Standard class | Dimension T: ±0.1 mm | Measure V: shape-dependent Dimension D: shape-dependent |
KWSC, KWSB, KWSM, KWSS | |
| Sleeve | Pipe sleeve (with weld on the inner diameter) |
- Dimension L configurable (in increments of 0.5 mm) - Selectable dimensions depending on L |
![]() |
Dimension L from 6 to 200 mm in 0.5 mm increments |
Standard class (Precision class is optionally possible for dimension L) |
Dimension L: ±0.2 mm Tolerance change from ±0.2 mm to ±0.05 mm possible with (LKC) |
Dimension D: Tolerance not specified Dimension d: Tolerance not specified +H10 |
SGP, SGPBB, STPG, STPGB, STPGH, STPGHB |
| Spacer sleeve (rolled steel) |
- Dimension L selectable - Selectable dimensions depending on L |
![]() |
Dimension L from 3 to 30 mm |
- | Dimension L: ±0.05 mm (for 3, 4, 5, 8, 10 mm) Dimension L :±0.1 mm (for 12, 15, 20 mm) Dimension L: ±0.15 mm (for 30 mm) |
Dimension D: Tolerance not specified Dimension d: Tolerance not specified |
SMKB | |
| Simultaneously ground spacer sleeves (at least 2 pieces) |
- Dimension L configurable (in increments of 0.1 mm) - Dimensions configurable depending on L |
![]() |
Dimension L from 1 to 100 mm in 0.1 mm increments |
- | Dimension L: ±0.05 mm Machining in one clamping process Tolerance dimension L: ±0.05 mm per clamping process |
Dimension V: 0.3 mm/0.1 mm Dimension D: 0/-0.2 mm |
DWSSB, DWSSM, DWSSS, DWSSKB, DWSSKM | |
| With collar/stepped | - Dimension L configurable (in increments of 0.1 mm) - Dimensions configurable depending on L |
![]() |
Dimension - L from 1 to 50 mm in 0.1 mm increments Dimension - T from 1 to 20 mm in 0.1 mm increments |
- | Dimension L: 0/-0.1 mm Dimension T: ±0.05 mm |
Dimension H: 0/-0.2 mm Measure V: H7 Dimension D: h7 |
DCLB, DCLM, DCLS | |
| Dimension L:+0.1 mm/0 Dimension T: ±0.05 mm |
Dimension H: 0/-0.2 mm Measure V: H7 Dimension D: h7 |
MCLB, MCLM, MCLS | ||||||
| With collar/stepped Dimension T standardized |
- Dimension L configurable (in increments of 0.1 mm) - Dimensions D and V selectable depending on L |
![]() |
Dimension L from 10 to 100 mm in 0.1 mm increments |
Standard class | Dimension L: 0/-0.3 mm Dimension T: 5 mm ±0.1 mm |
Dimension H: 0/-0.2 mm Dimension V: 0.3 mm/0.1 mm Dimension D: 0/-0.2 mm |
TCLB, TCLM, TCLA, TCLSS,FTCLS | |
| With collar/stepped | - Dimension L configurable (in increments of 0.1 mm) - Dimensions configurable depending on L |
![]() |
Dimension L from 10 to 100 mm in 0.1 mm increments |
Standard class | Dimension L: 0/-0.3 mm Dimension T: ±0.1 mm |
Dimension H: 0/-0.2 mm Dimension V: 0.3 mm/0.1 mm Dimension D: 0/-0.2 mm |
FTCLC, FTCLB, FTCLM, FTCLBB, FTCLA, FTCLAB, FTCLSS, FTCLCH, FTCLBH, FTCLMH, FTCLSK, FTCLSH | |
| Precision class | Dimension L: ±0.01 mm Dimension T: ±0.01 mm |
Dimension H: 0/-0.2 mm Dimension V: 0.3 mm/0.1 mm Dimension D: 0/-0.2 mm |
FTCLMC, FTCLMB, FTCLMM, FTCMSH | |||||
| Thin-walled metal sleeve | - Dimension L configurable (in increments of 0.5 mm) - Dimension V and T selectable |
![]() |
Dimension L from 3 to 20 mm in 0.5 mm increments |
- | Dimension L: ±0.05 mm (from 3.0 to 10.0 mm) Dimension L: ±0.1 mm (from 10.5 to 20.0 mm) |
Dimension V: 0.3 mm/0.1 mm Dimension D: 0/-0.2 mm |
TASC | |
| Metal sleeve | - Dimension L selectable - Dimension V and D selectable depending on L |
![]() |
10, 12, 15, 20, 25, 30, 35 mm | Standard class | Dimension L: 0/-0.1 mm | Dimension V: 0.3 mm/0.1 mm Dimension D: 0/-0.2 mm |
KNCLB, KNCLM, KNCLSS | |
| Metal sleeve | - Dimension L configurable (in increments of 0.1 mm) - Dimension V and D selectable depending on L |
![]() |
Dimension L from 10 to 100 mm in 0.1 mm increments |
Standard class | Dimension L: 0/-0.1 mm | Dimension V: 0.3 mm/0.1 mm Dimension D: 0/-0.2 mm |
NCLC, NCLB, NCLM, NCLA, NCLSS | |
| Precision class | Dimension L: ±0.01 mm | Dimension V: 0.3 mm/0.1 mm Dimension D: 0/-0.2 mm |
ACSC, ABSC, AMSC, AASC, SASC | |||||
| Metal sleeve | - Dimension L configurable (in increments of 0.1 mm) - Dimension V and D selectable depending on L |
![]() |
Dimension L from 10 to 100 mm in 0.1 mm increments |
Standard class | Dimension L: 0/-0.1 mm | Dimension V: 0.3 mm/0.1 mm Dimension D: 0/-0.2 mm |
FNCL, FNCLC, FNCLB, FNCLM, FNCLR, FNCLBB, FNCLA, FNCLAB, FNCLSS, FNCLSSR | |
| Precision class | Dimension L: ±0.01 mm | Dimension V: 0.3 mm/0.1 mm Dimension D: 0/-0.2 mm |
FAC, FACS, FABSC, FAMSC, FARSC, FAASC, FSASC, FSASCR | |||||
| Metal sleeve - Inside Ø/outside Ø tolerance selectable - L dimension configurable |
- Dimension L configurable (in increments of 0.1 mm) - Dimension V and D configurable depending on L - Tolerance selectable for D and V |
![]() |
Dimension L from 10 to 100 mm in 0.1 mm increments |
Standard class | Dimension L: 0/-0.1 mm | Dimension V selectable: H=H7 / N=(0.3/0.1) mm / X=(0.2-0) mm Dimension D selectable: G=g6 mm / H=h7 / N=(-0.1/-0.3) mm / X=(0/-0.2) mm |
SNCC, SNCB, SNCM, SNCS | |
| Precision class | Dimension L: ±0.01 mm | Dimension V selectable: H=H7 / N=(0.3/0.1) mm / X=(0.2-0) mm Dimension D selectable: G=g6 / H=h7 / N=(-0.1/-0.3) mm/X=(0/-0.2) mm |
SNMC, SNMB, SNMM, SNMS | |||||
| Metal sleeve hardened - L- dimension configurable |
- Dimension L configurable (in increments of 0.1 mm) - Dimension V and D selectable depending on L |
![]() |
Dimension L from 10 to 100 mm in 0.1 mm increments |
Standard class | Dimension L: 0/-0.1 mm | Dimension V: 0.3 mm/0.1 mm Dimension D: 0/-0.2 mm |
NCLCH, NCLBH, NCLMH, NCLSSH | |
| Precision class | Dimension L: ±0.01 mm | Dimension V: 0.3 mm/0.1 mm Dimension D: 0/-0.2 mm |
ASH, ASC, PASC, SASCH | |||||
| Metal sleeve hardened - L dimension configurable - V dimension configurable - D dimension configurable |
- Dimension L configurable (in increments of 0.1 mm) - Dimension V and D configurable depending on L |
![]() |
Dimension L from 10 to 100 mm in 0.1 mm increments |
Standard class | Dimension L: 0/-0.1 mm | Dimension V: 0.3 mm/0.1 mm Dimension D: 0/-0.2 mm |
FNCLCH, FNCLBH, FNCLMH, FNCSK, FNCSKB, FNCSKM, FNCLSH | |
| Precision class | Dimension L: ±0.01 mm | Dimension V: 0.3 mm/0.1 mm Dimension D: 0/-0.2 mm |
FAS, FASC, FPASC, FASK, FASKB, FASKM, FSASCH | |||||
























