Parallel keys and tapered keys – Standards and norms

Parallel keys and tapered keys are two common connecting elements in mechanical engineering. They are used to create a force-locking connection between two components. In this article, the two key types are examined in more detail and their areas of application are explained.

What are parallel keys?

A parallel key is a flat element made of steel or stainless steel with a rectangular shape, which is inserted into a groove on a shaft or drill diameter. The key normally has a 90 degree angle at the ends and can be supplied either as a straight or conical version.

A parallel key is mainly used to transfer torque from a shaft to another component.

In the field of industrial applications, there are numerous examples of the use of parallel keys to secure axes and other rotating parts such as gear units or pump housings.

There are different types of parallel keys such as tapered or T-shaped keys, each type of key being specifically developed for specific applications. Tapered keys, for example, can transmit higher forces than T-shaped keys.

When selecting a suitable parallel key, it must be ensured that both size and material are adapted to the respective requirement - depending on the maximum load and ambient temperature of the system.

Overall, parallel key connections offer many advantages over other connection techniques such as welding or bonding: They are easy to install, can be replaced quickly if necessary and have a high load bearing capacity. In addition, the connection is very precise thanks to parallel keys, thus enabling precise working.

Parallel key with through hole
Parallel key with through hole
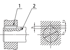
Parallel key, schematic
Parallel key, schematic

(1) Parallel key

(2) Shaft with groove

What are tapered keys?

A tapered key consists of a conical piece of metal with straight side surfaces (tapered cut). The larger diameter of the cone fits exactly into the corresponding bore or shaft keyway on the other part. Shaft groove on the other part.

A tapered key is often used in machine tools such as milling machines or gear units.

One of the most important features of tapered keys is their ability to carry large loads in a small space. This means that they are very effective at transferring great forces while saving space. This makes them ideal for use in confined spaces or where weight saving is essential.

Another advantage of tapered keys is their high reliability and durability. Unlike many other key types, they are not prone to wear or fray quickly - which is particularly important when considering the extremely high loads when using these components.

There are different types of tapered key designs. The following are available: Single tapered keys with straight edges; double-acting wedge keys with conical side surfaces; conical spring discs, which can be designed as a disc shape in order to cover larger diameter ranges.

Gib-head tapered key - taperedkey
Gib-head tapered key
Tapered key, schematic
Tapered key, schematic

(1) Tapered key

(2) Shaft with groove

When to use parallel keys or tapered keys

The choice between parallel key or tapered key connections often depends on the requirements for the special application: If high load capacity is required (for example for large engines), then tapered key connections are more recommended; however, for smaller components such as gear wheels or pump shafts, parallel key connections should be preferred.

In linear shafts, parallel keys are used to establish a connection between the shaft and the associated bearing. The parallel key is inserted into a keyway on the shaft and fixes the bearing in place with its shape.

Shaft couplings or compensating couplings are used to transmit torques between two shaft ends. Here too, parallel keys play a decisive role: They ensure that the coupling component fits securely on the shaft diameters.

In turn, sprockets also require fitting fastening elements such as retaining rings or even parallel keys. These hold the sprocket at the end of the shaft and thus ensure stable operation of the system.

Rotation shafts often also contain such key elements – especially when several component parts have to be connected to each other (such as belt pulleys). It is important to ensure that the width and height dimensions or Depth specifications must match exactly – this is the only way to guarantee an optimal hold.

Conversely, spur gear wheels tend to rely on other types of connection techniques. Nevertheless, parallel keys can occasionally be used here as well. For example, when the gear shaft needs to be connected to a bearing.

Types of parallel keys and tapered keys

The best-known type is probably the tapered parallel key. This consists of a tapered piece of metal that is inserted between the shaft and hub. The shape creates a positive-locking connection in which the torque is transmitted.

Another variant is groove-wedge-parallel keys or flat key connections. These are flat springs with a rectangular cross-sectional shape, which can be inserted into suitable grooves on both sides of the component.

In addition, there are barrel groove parallel keys as well as splined shaft connections as special design variants of parallel key connections for special load requirements in mechanical engineering.
Depending on the area of application, different criteria must be observed, such as lifting capacity or accuracy of the transmission forces as well as material selection (steel, stainless steel, plastic, etc.). Also often an important factor often plays a role in the installation or replacement of parallel key connections, their assembly time and effort for fastening within a machine.

Choosing the right design depends on the specific needs of a particular application - but some general guidelines should be followed:

  • Avoid sharp edges on the springs, as this can lead to weakening of the spring.
  • Avoid overloading - excessive stress can cause the spring to break or deform.
  • Ensure sufficient lubrication and maintenance to ensure everything is working smoothly.

What standards must be observed for parallel keys?

To ensure that parallel keys actually work in practice and fulfil the desired purpose, they must fulfil certain standards. One of these standards is DIN 6885 for splined shaft- and groove connections with parallel key.

In Germany, DIN-standarden 6885-1 to -3 as well as DIN 5464 apply to parallel keys. In Japan, however, JIS standards are used.

The German standard DIN 6885 defines four different types of parallel keys profiles: the tapered profile according to shape A, B or C as well as the rectangular profile according to shape D. The profiles differ in their geometry and size in order to accommodate different loads.

The Japanese standard JIS B1301 also divides into four different profile shapes: The keyway profile (shape K), the T-profile (shape T), the arched profile (shape R) and another variant of the tapered profile with a larger pitch angle (shape S). Compared to the German standard, there are therefore more selection options here.

Another difference lies in the fact that the German standard only provides unslotted parallel keys as standard. However, a slot can also be made if necessary. In the Japanese JIS standards, this is the other way around – here it is generally assumed that all parallel keys must be slotted.

This standard specifies, among other things, which dimensions a parallel key must have and which tolerances must be complied with during production. It also describes how to determine the correct dimension of a suitable keyway to ensure an optimal fit.

However, these regulations are not only applicable for splined shaft or groove connections: For other types of connectors, there are also special DIN standards – for example for cylindrical pins (DIN 7) or tapered pins (DIN 1).