JIS and DIN hex socket screws - A comparison
Hex socket screws are an indispensable component in the assembly and construction of machinery and equipment. They are used worldwide, with each country having its own standards for size, thread, and materials. One of the most popular standards is the Japanese Industrial Standard (JIS). In this blog post, we will take an in-depth look at hex socket screws and the Japanese JIS standard.
What are hex socket screws?
Hex socket screws are a special type of screw that has a hexagonal recess on the head. They are mainly used to fasten elements and components, such as control panels, enclosures, or tools. They are available in a variety of sizes and materials and can be used for different applications.
- (a) - The screw ends must be chamfered in accordance with JIS B 1003. However, a rough tip may be used for M4 or smaller.
- (b) - Incomplete thread length at the screw tip u≤2P.
- (c) - The opening of the hexagonal hole may have a slight rounding or chamfer.
- (d) - Applies to those for which a minimum value of ℓs is specified.
- (e) - It may be engraved on a flat surface.
- (f) - The corners of the top of the head shall be rounded or chamfered at the manufacturer’s discretion.
- (g) - The corners of the head seat must be rounded or chamfered up to dw and must not have any burrs or similar defects.
- (h) - In the case of slotting, the remaining bore must not exceed 1/3 of the length of the hexagon side (e/2).
- (i) - Specifies the position from which dw is measured.
Using Allen screws effectively and safely
When used in combination with nuts and washers, hex socket screws can be fastened even more securely—ensuring that all components are firmly connected and that no movement or vibration can occur. The nut ensures that the screw stays firmly in place, while the washer distributes the weight evenly, preventing the material from slipping or stretching out.
When selecting nuts and washers, ensure that they match the size and material of the screw being used. This is how MISUMI ensures that everything fits together perfectly and no weak points arise.
Advantages of the Japanese JIS Standard
The Japanese Industrial Standard (JIS) is a standardization system that specifies the sizes, threads, and materials of hex socket screws. This standard is used by the Japan Industrial Standards Committee (JIC) for the manufacture and sale of screws in Japan.
The Japanese JIS standard has several advantages over other standards. For example, the sizes and threads of the screws are very precise, allowing them to be used in a wide variety of applications. In addition, the materials used to manufacture the screws are high-quality and durable.
Dimensions of hex socket cap screws (coarse thread)
| Thread designation d | M1.6 | M2 | M2.5 | M3 | M4 | M5 | M6 | M8 | ||||||||||||||||||||||||||||||||||||||||||||||||||||||||||||||||||||||||||||||||||||||||||||||||||
|---|---|---|---|---|---|---|---|---|---|---|---|---|---|---|---|---|---|---|---|---|---|---|---|---|---|---|---|---|---|---|---|---|---|---|---|---|---|---|---|---|---|---|---|---|---|---|---|---|---|---|---|---|---|---|---|---|---|---|---|---|---|---|---|---|---|---|---|---|---|---|---|---|---|---|---|---|---|---|---|---|---|---|---|---|---|---|---|---|---|---|---|---|---|---|---|---|---|---|---|---|---|---|---|---|---|---|
| P, screw pitch | 0.35 | 0.4 | 0.45 | 0.5 | 0.7 | 0.8 | 1 | 1.25 | ||||||||||||||||||||||||||||||||||||||||||||||||||||||||||||||||||||||||||||||||||||||||||||||||||
| bb) | Reference | 15 | 16 | 17 | 18 | 20 | 22 | 24 | 28 | |||||||||||||||||||||||||||||||||||||||||||||||||||||||||||||||||||||||||||||||||||||||||||||||||
| dk | Maximum c) | 3 | 3.8 | 4.5 | 5.5 | 7 | 8.5 | 10 | 13 | |||||||||||||||||||||||||||||||||||||||||||||||||||||||||||||||||||||||||||||||||||||||||||||||||
| Maximum d) | 3.14 | 3.98 | 4.68 | 5.68 | 7.22 | 8.72 | 10.22 | 13.27 | ||||||||||||||||||||||||||||||||||||||||||||||||||||||||||||||||||||||||||||||||||||||||||||||||||
| Minimum | 2.86 | 3.62 | 4.32 | 5.32 | 6.78 | 8.28 | 9.78 | 12.73 | ||||||||||||||||||||||||||||||||||||||||||||||||||||||||||||||||||||||||||||||||||||||||||||||||||
| da | Maximum | 2 | 2.6 | 3.1 | 3.6 | 4.7 | 5.7 | 6.8 | 9.2 | |||||||||||||||||||||||||||||||||||||||||||||||||||||||||||||||||||||||||||||||||||||||||||||||||
| ds | Maximum | 1.6 | 2 | 2.5 | 3 | 4 | 5 | 6 | 8 | |||||||||||||||||||||||||||||||||||||||||||||||||||||||||||||||||||||||||||||||||||||||||||||||||
| Minimum | 1.46 | 1.86 | 2.36 | 2.86 | 3.82 | 4.82 | 5.82 | 7.78 | ||||||||||||||||||||||||||||||||||||||||||||||||||||||||||||||||||||||||||||||||||||||||||||||||||
| e e),f) | Minimum | 1.733 | 1.733 | 2.303 | 2.873 | 3.443 | 4.583 | 5.723 | 6.863 | |||||||||||||||||||||||||||||||||||||||||||||||||||||||||||||||||||||||||||||||||||||||||||||||||
| ℓf | Maximum | 0.34 | 0.51 | 0.51 | 0.51 | 0.6 | 0.6 | 0.68 | 1.02 | |||||||||||||||||||||||||||||||||||||||||||||||||||||||||||||||||||||||||||||||||||||||||||||||||
| k | Maximum | 1.6 | 2 | 2.5 | 3 | 4 | 5 | 6 | 8 | |||||||||||||||||||||||||||||||||||||||||||||||||||||||||||||||||||||||||||||||||||||||||||||||||
| Minimum | 1.46 | 1.86 | 2.36 | 2.86 | 3.82 | 4.82 | 5.7 | 7.64 | ||||||||||||||||||||||||||||||||||||||||||||||||||||||||||||||||||||||||||||||||||||||||||||||||||
| r | Minimum | 0.1 | 0.1 | 0.1 | 0.1 | 0.2 | 0.2 | 0.25 | 0.4 | |||||||||||||||||||||||||||||||||||||||||||||||||||||||||||||||||||||||||||||||||||||||||||||||||
| s f)s | Designation | 1.5 | 1.5 | 2 | 2.5 | 3 | 4 | 5 | 6 | |||||||||||||||||||||||||||||||||||||||||||||||||||||||||||||||||||||||||||||||||||||||||||||||||
| Maximum | 1.58 | 1.58 | 2.08 | 2.58 | 3.08 | 4.095 | 5.14 | 6.14 | ||||||||||||||||||||||||||||||||||||||||||||||||||||||||||||||||||||||||||||||||||||||||||||||||||
| Minimum | 1.52 | 1.52 | 2.02 | 2.52 | 3.02 | 4.02 | 5.02 | 6.02 | ||||||||||||||||||||||||||||||||||||||||||||||||||||||||||||||||||||||||||||||||||||||||||||||||||
| t | Minimum | 0.7 | 1 | 1.1 | 1.3 | 2 | 2.5 | 3 | 4 | |||||||||||||||||||||||||||||||||||||||||||||||||||||||||||||||||||||||||||||||||||||||||||||||||
| v | Maximum | 0.16 | 0.2 | 0.25 | 0.3 | 0.4 | 0.5 | 0.6 | 0.8 | |||||||||||||||||||||||||||||||||||||||||||||||||||||||||||||||||||||||||||||||||||||||||||||||||
| dw | Minimum | 2.72 | 3.48 | 4.18 | 5.07 | 6.53 | 8.03 | 9.38 | 12.33 | |||||||||||||||||||||||||||||||||||||||||||||||||||||||||||||||||||||||||||||||||||||||||||||||||
| w | Minimum | 0.55 | 0.55 | 0.85 | 1.15 | 1.4 | 1.9 | 2.3 | 3.3 | |||||||||||||||||||||||||||||||||||||||||||||||||||||||||||||||||||||||||||||||||||||||||||||||||
| ||||||||||||||||||||||||||||||||||||||||||||||||||||||||||||||||||||||||||||||||||||||||||||||||||||||||||
| Thread designation d | M10 | M12 | M14 | M16 | M20 | M24 | M30 | |||||||||||||||||||||||||||||||||||||||||||||||||||||||||||||||||||||||||||||||||||||||||||||||||||
|---|---|---|---|---|---|---|---|---|---|---|---|---|---|---|---|---|---|---|---|---|---|---|---|---|---|---|---|---|---|---|---|---|---|---|---|---|---|---|---|---|---|---|---|---|---|---|---|---|---|---|---|---|---|---|---|---|---|---|---|---|---|---|---|---|---|---|---|---|---|---|---|---|---|---|---|---|---|---|---|---|---|---|---|---|---|---|---|---|---|---|---|---|---|---|---|---|---|---|---|---|---|---|---|---|---|---|
| P, screw pitch | 1.5 | 1.75 | 2 | 2 | 2.5 | 3 | 3.5 | |||||||||||||||||||||||||||||||||||||||||||||||||||||||||||||||||||||||||||||||||||||||||||||||||||
| b b) | Reference | 32 | 36 | 40 | 44 | 52 | 60 | 72 | ||||||||||||||||||||||||||||||||||||||||||||||||||||||||||||||||||||||||||||||||||||||||||||||||||
| dk | Maximum c) | 16 | 18 | 21 | 24 | 30 | 36 | 45 | ||||||||||||||||||||||||||||||||||||||||||||||||||||||||||||||||||||||||||||||||||||||||||||||||||
| Maximum d) | 16.27 | 18.27 | 21.33 | 24.33 | 30.33 | 36.39 | 45.39 | |||||||||||||||||||||||||||||||||||||||||||||||||||||||||||||||||||||||||||||||||||||||||||||||||||
| Minimum | 15.73 | 17.73 | 20.67 | 20.67 | 29.67 | 35.61 | 44.61 | |||||||||||||||||||||||||||||||||||||||||||||||||||||||||||||||||||||||||||||||||||||||||||||||||||
| da | Maximum | 11.2 | 13.7 | 15.7 | 17.7 | 22.4 | 26.4 | 33.4 | ||||||||||||||||||||||||||||||||||||||||||||||||||||||||||||||||||||||||||||||||||||||||||||||||||
| ds | Maximum | 10 | 12 | 14 | 16 | 20 | 24 | 30 | ||||||||||||||||||||||||||||||||||||||||||||||||||||||||||||||||||||||||||||||||||||||||||||||||||
| Minimum | 9.78 | 11.73 | 13.73 | 15.73 | 19.67 | 23.67 | 29.67 | |||||||||||||||||||||||||||||||||||||||||||||||||||||||||||||||||||||||||||||||||||||||||||||||||||
| e e),f) | Minimum | 9.149 | 11.429 | 13.716 | 15.996 | 19.437 | 21.734 | 25.154 | ||||||||||||||||||||||||||||||||||||||||||||||||||||||||||||||||||||||||||||||||||||||||||||||||||
| ℓℓ | Maximum | 1.02 | 1.45 | 1.45 | 1.45 | 2.04 | 2.04 | 2.89 | ||||||||||||||||||||||||||||||||||||||||||||||||||||||||||||||||||||||||||||||||||||||||||||||||||
| k | Maximum | 10 | 12 | 14 | 16 | 20 | 24 | 30 | ||||||||||||||||||||||||||||||||||||||||||||||||||||||||||||||||||||||||||||||||||||||||||||||||||
| Minimum | 9.64 | 11.57 | 13.57 | 15.57 | 19.48 | 23.48 | 29.48 | |||||||||||||||||||||||||||||||||||||||||||||||||||||||||||||||||||||||||||||||||||||||||||||||||||
| r | Minimum | 0.4 | 0.6 | 0.6 | 0.6 | 0.8 | 0.8 | 1 | ||||||||||||||||||||||||||||||||||||||||||||||||||||||||||||||||||||||||||||||||||||||||||||||||||
| s f) | Designation | 8 | 10 | 12 | 14 | 17 | 19 | 22 | ||||||||||||||||||||||||||||||||||||||||||||||||||||||||||||||||||||||||||||||||||||||||||||||||||
| Maximum | 8.175 | 10.175 | 12.212 | 14.212 | 17.23 | 19.275 | 22.275 | |||||||||||||||||||||||||||||||||||||||||||||||||||||||||||||||||||||||||||||||||||||||||||||||||||
| Minimum | 8.025 | 10.021 | 12.032 | 14.032 | 17.05 | 19.065 | 22.065 | |||||||||||||||||||||||||||||||||||||||||||||||||||||||||||||||||||||||||||||||||||||||||||||||||||
| t | Minimum | 5 | 6 | 7 | 8 | 10 | 12 | 45427 | ||||||||||||||||||||||||||||||||||||||||||||||||||||||||||||||||||||||||||||||||||||||||||||||||||
| v | Maximum | 1 | 1.2 | 1.4 | 1.6 | 2 | 2.4 | 3 | ||||||||||||||||||||||||||||||||||||||||||||||||||||||||||||||||||||||||||||||||||||||||||||||||||
| dw | Minimum | 15.33 | 17.23 | 20.17 | 23.17 | 28.87 | 34.81 | 43.61 | ||||||||||||||||||||||||||||||||||||||||||||||||||||||||||||||||||||||||||||||||||||||||||||||||||
| w | Minimum | 4 | 4.8 | 5.8 | 6.8 | 8.6 | 10.4 | 13.1 | ||||||||||||||||||||||||||||||||||||||||||||||||||||||||||||||||||||||||||||||||||||||||||||||||||
| ||||||||||||||||||||||||||||||||||||||||||||||||||||||||||||||||||||||||||||||||||||||||||||||||||||||||||
ℓ, ℓs, and ℓg
| Nominal screw d | M1.6 | M2 | M2.5 | M3 | M4 | M5 | M6 | M8 | ||||||||||
|---|---|---|---|---|---|---|---|---|---|---|---|---|---|---|---|---|---|---|
| ℓ g) | ℓs and ℓg | |||||||||||||||||
| ℓs | ℓg | ℓs | ℓg | ℓs | ℓg | ℓs | ℓg | ℓs | ℓg | ℓs | ℓg | ℓs | ℓg | ℓs | ℓg | |||
| Length (nominal) |
min. | max. | min. | max. | min. | max. | min. | max. | min. | max. | min. | max. | min. | max. | min. | max. | min. | max. |
| 2.5 | 2.3 | 2.7 | ||||||||||||||||
| 3 | 2.8 | 3.2 | ||||||||||||||||
| 4 | 3.76 | 4.24 | ||||||||||||||||
| 5 | 4.76 | 5.24 | ||||||||||||||||
| 6 | 5.76 | 6.24 | ||||||||||||||||
| 8 | 7.71 | 8.29 | ||||||||||||||||
| 10 | 9.71 | 10.29 | ||||||||||||||||
| 12 | 11.65 | 12.35 | ||||||||||||||||
| 16 | 15.65 | 16.35 | ||||||||||||||||
| 20 | 19.58 | 20.42 | 2 | 4 | ||||||||||||||
| 25 | 24.58 | 25.42 | 5.75 | 8 | 4.5 | 7 | ||||||||||||
| 30 | 29.58 | 30.42 | 9.5 | 12 | 6.5 | 10 | 4 | 8 | ||||||||||
| 35 | 34.5 | 35.5 | 11.5 | 15 | 9 | 13 | 6 | 11 | ||||||||||
| 40 | 39.5 | 40.5 | 16.5 | 20 | 14 | 18 | 11 | 16 | 5.75 | 12 | ||||||||
| 45 | 44.5 | 45.5 | 19 | 23 | 16 | 21 | 10.75 | 17 | ||||||||||
| 50 | 49.5 | 50.5 | 24 | 28 | 21 | 26 | 15.75 | 22 | ||||||||||
| 55 | 54.4 | 55.6 | 26 | 31 | 20.75 | 27 | ||||||||||||
| 60 | 59.4 | 60.6 | 31 | 36 | 25.75 | 32 | ||||||||||||
| 65 | 64.4 | 65.6 | 30.75 | 37 | ||||||||||||||
| 70 | 69.4 | 70.6 | 35.75 | 42 | ||||||||||||||
| 80 | 79.4 | 80.6 | 45.75 | 52 | ||||||||||||||
| 90 | 89.3 | 90.7 | ||||||||||||||||
| 100 | 99.3 | 100.7 | ||||||||||||||||
| Nominal screw d | M10 | M12 | M14 | M16 | M20 | M24 | M30 | |||||||||
|---|---|---|---|---|---|---|---|---|---|---|---|---|---|---|---|---|
| ℓ g) | ℓs and ℓg | |||||||||||||||
| ℓs | ℓg | ℓs | ℓg | ℓs | ℓg | ℓs | ℓg | ℓs | ℓg | ℓs | ℓg | ℓs | ℓg | |||
| Length (nominal) |
min. | max. | min. | max. | min. | max. | min. | max. | min. | max. | min. | max. | min. | max. | min. | max. |
| 10 | 9.71 | 10.29 | ||||||||||||||
| 12 | 11.65 | 12.35 | ||||||||||||||
| 16 | 15.65 | 16.35 | ||||||||||||||
| 20 | 19.58 | 20.42 | ||||||||||||||
| 25 | 24.58 | 25.42 | ||||||||||||||
| 30 | 29.58 | 30.42 | ||||||||||||||
| 35 | 34.5 | 35.5 | ||||||||||||||
| 40 | 39.5 | 40.5 | ||||||||||||||
| 45 | 44.5 | 45.5 | 5.5 | 13 | ||||||||||||
| 50 | 49.5 | 50.5 | 10.5 | 18 | ||||||||||||
| 55 | 54.4 | 55.6 | 15.5 | 23 | 10.25 | 19 | ||||||||||
| 60 | 59.4 | 60.6 | 20.5 | 28 | 15.25 | 24 | 10 | 20 | ||||||||
| 65 | 64.4 | 65.6 | 25.5 | 33 | 20.25 | 29 | 15 | 25 | 11 | 21 | ||||||
| 70 | 69.4 | 70.6 | 30.5 | 38 | 25.25 | 34 | 20 | 30 | 16 | 26 | ||||||
| 80 | 79.4 | 80.6 | 40.5 | 48 | 35.25 | 44 | 30 | 40 | 26 | 36 | 15.5 | 28 | ||||
| 90 | 89.3 | 90.7 | 50.5 | 58 | 45.25 | 54 | 40 | 50 | 36 | 46 | 25.5 | 38 | 15 | 30 | ||
| 100 | 99.3 | 100.7 | 60.5 | 68 | 55.25 | 64 | 50 | 60 | 46 | 56 | 35.5 | 48 | 25 | 40 | ||
| 110 | 109.3 | 110.7 | 65.25 | 74 | 60 | 70 | 56 | 66 | 45.5 | 58 | 35 | 50 | 20.5 | 38 | ||
| 120 | 119.3 | 120.7 | 75.25 | 84 | 70 | 80 | 66 | 76 | 55.5 | 68 | 45 | 60 | 30.5 | 48 | ||
| 130 | 129.2 | 130.8 | 80 | 90 | 76 | 86 | 65.5 | 78 | 55 | 70 | 40.5 | 58 | ||||
| 140 | 139.2 | 140.8 | 90 | 100 | 86 | 96 | 75.5 | 88 | 65 | 80 | 50.5 | 68 | ||||
| 150 | 149.2 | 150.8 | 96 | 106 | 85.5 | 98 | 75 | 90 | 60.5 | 78 | ||||||
| 160 | 159.2 | 160.8 | 106 | 116 | 95.5 | 108 | 85 | 100 | 70.5 | 88 | ||||||
| 180 | 179.2 | 180.8 | 115.5 | 128 | 105 | 120 | 90.5 | 108 | ||||||||
| 200 | 199.1 | 200.9 | 135.5 | 148 | 125 | 140 | 110.5 | 128 | ||||||||
Note
- g - The nominal length range for general use falls within the thick dashed line. The hatched sections must be fully threaded, and the length of the unthreaded section at the lower end of the neck must not exceed 3P.
- The values for the unshaded positions refer to the values ℓg and ℓs and are based on the following equations
- ℓgmax=ℓnom-b
- ℓsmin=ℓgmax-5P
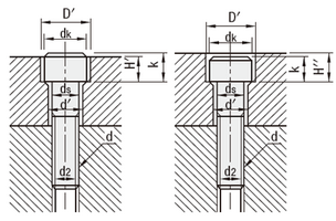
Dimensions of the drill holes and screw holes for hex socket screws
| Thread designation (d) | M3 | M4 | M5 | M6 | M8 | M10 | M12 | M14 | M16 | (M18) | M20 | (M22) | M24 | (M27) | M30 |
|---|---|---|---|---|---|---|---|---|---|---|---|---|---|---|---|
| ds | 3 | 4 | 5 | 6 | 8 | 10 | 12 | 14 | 16 | 18 | 20 | 22 | 24 | 27 | 30 |
| d’ | 3.4 | 4.5 | 5.5 | 6.6 | 9 | 11 | 14 | 16 | 18 | 20 | 22 | 24 | 26 | 30 | 33 |
| dk | 5.5 | 7 | 8.5 | 10 | 13 | 16 | 18 | 21 | 24 | 27 | 30 | 33 | 36 | 40 | 45 |
| D' | 6.5 | 8 | 9.5 | 11 | 14 | 17.5 | 20 | 23 | 26 | 29 | 32 | 35 | 39 | 43 | 48 |
| k | 3 | 4 | 5 | 6 | 8 | 10 | 12 | 14 | 16 | 18 | 20 | 22 | 24 | 27 | 30 |
| H' | 2.7 | 3.6 | 4.6 | 5.5 | 7.4 | 9.2 | 11 | 12.8 | 14.5 | 16.5 | 18.5 | 20.5 | 22.5 | 25 | 28 |
| H'' | 3.3 | 4.4 | 5.4 | 6.5 | 8.6 | 10.8 | 13 | 15.2 | 17.5 | 19.5 | 21.5 | 23.5 | 25.5 | 29 | 32 |
| d2 | 2.6 | 3.4 | 4.3 | 5.1 | 6.9 | 8.6 | 10.4 | 12.2 | 14.2 | 15.7 | 17.7 | 19.7 | 21.2 | 24.2 | 26.7 |