Details of elastomer inserts for couplings

Elastomer couplings are a type of shaft coupling. They transfer torque between two shafts and perform tasks such as power transmission, compensating alignment errors, but also damping of shocks and vibrations. Elastomer couplings ensure optimal power transmission by using various materials, and also based on their material properties and shape. The properties of the respective elastomer coupling simultaneously prevent vibrations of the drive shaft from being transmitted to the coupled shaft. The following article discusses which properties these are, how the hardness of elastomers is determined and what application examples there are.

Terms: Claw coupling and elastomer claw coupling

Claw couplings are interlocking couplings whose task is to transfer torque between two shafts. Claw couplings are not rigid. Depending on their design, one can compensate for angular errors as well as radial and axial errors, while simultaneously ensuring high and precise power transmission. Their basic construction consists of two metal hubs that engage into each other like claws and thus transfer a torque in an interlocking manner. With regard to vibration damping and load capacity, the characteristics of claw couplings can be influenced by different dampers. On elastomer couplings, these dampers are made of an elastomer.

Elastomer claw couplings make use of a so-called compensating element that transfers the torque in a rotationally elastic and vibration-damping manner (for more details on the transmission of torque, see transmission of rotational movements – fundamentals of couplings). In particularly high-impact and high-vibration applications, the element can have a significant impact on the service life of the entire system. The compensating element or the coupling insert significantly influences the drive train or coupling properties. As a rule, a compressive preload acts on the element that guarantees clutch clearance. Elastomer coupling inserts can have various shapes, e.g. elastomeric stars or elastomeric rings or cross discs.

Elastomer inserts must also be replaced as spare parts or if worn. The following figure shows an example of how a claw coupling can be constructed and how the corresponding coupling insert is mounted:

Other couplings with elastomer inserts

In addition to claw couplings, elastomer inserts are also used on other types of couplings, such as Oldham couplings and spring disc couplings. For a detailed overview of common coupling types, see our article Overview of Coupling Types in Mechanical Engineering.

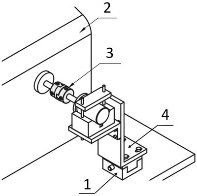
Similar to claw couplings, the Oldham coupling also relies on two hubs. A washer that engages in the grooves of the hubs is placed between the hubs. The elastic cross disc allows the coupling to move laterally, allowing it to be used in applications with radial offset. An application for an Oldham coupling with elastomer insert would be, for example, an engine test bench:

  • (1) Positioning table X axis
  • (2) Performance test station
  • (3) Shaft coupling
  • (4) Holders, L-shaped

On a disc coupling, the hubs are toothed and connected to an elastic sprocket. This dampens and compensates alignment errors. They are suited for dynamic loads.

The MISUMI shop contains numerous shaft couplings such as slot couplings, disc couplings (servo couplings), Oldham couplings or claw couplings. If you are looking for information on calculating gearboxes in this context, our article "Calculating various gearboxes" will be of assistance to you.

Other properties of elastomer coupling inserts

Elastomer coupling inserts not only have damping properties, but also provide some flexibility and resistance. This flexibility allows offset compensation between both shafts for radial, axial, or angular offsets. Small inaccuracies are compensated by the elastomer insert without affecting power transmission. Overall, the elastomer inserts thus directly protect the connected components against non-uniform loads and extend the service life of the entire system.

But flexibility also has its limits: the probability is high that extreme torque peaks will cause the elastomer insert to fail. However, this can certainly have a positive effect: this overload protection prevents further damage to other components in a timely manner by first causing the coupling to fail, thus breaking the connection. This property is exploited by failsafe or overload couplings.

Suitable materials for elastomer inserts

Precision coupling inserts are usually made of thermoplastic polyurethane (abbreviation: TPU), a thermally stable material in a temperature range from -30°C to +120°C. HYTREL material can also be used because it has a special structure and is mainly used for applications with extreme temperatures. Other materials may include:

  • Nitrile Rubber (NBR): This material is particularly resistant to oils and greases. Use in gearboxes or pumps is therefore obvious. However, nitrile rubber is temperature-sensitive and can become brittle and harden beyond 100°C. Hydrogenated nitrile rubber (HNBR), which has higher temperature resistance, is available as a further advancement. However, it does not have the same elasticity as NBR.
  • Ethylene propylene diene rubber (EPDM): EPDM has high resistance to UV radiation, high temperatures and ozone and is suited for outdoor applications or HVAC systems. However, it cannot be used in environments that use oils or greases.
  • Silicone rubber (VMQ): Silicone has high temperature resistance (up to 180°C), but low abrasion resistance and resistance to oils, acids, etc. It is therefore only suited to a limited extent in industrial environments.

Finally, as is typically the case, the choice of appropriate material depends on the specific application. Temperature range, chemical resistance and mechanical load bearing capacity are certainly the most important selection criteria. However, polyurethane is considered a good general-purpose solution.

Shore hardness in connection with elastomer coupling inserts

Shore hardness is generally an important criterion for selecting elastomer coupling inserts. The Shore hardness directly influences the stiffness and damping properties of the elastomer and the coupling as a whole. The higher the Shore hardness, the harder the elastomer. Consequently, it allows less deformation, as a result of which the coupling itself becomes stiffer and torque can be transferred more precisely. However, this also reduces the damping properties. A softer elastomer with low Shore hardness should be used if vibration damping and shock absorption are key criteria.

The Shore hardness of elastic materials such as plastic or rubber can be classified using hardness testing methods. All methods have in common that a foreign object is introduced into a test specimen with a defined force, followed by measuring the penetration depth. Various scales are used depending on the hardness of the material under test. Shore hardness A and Shore hardness D are relevant for elastomers. The Shore-A method relies on introducing a ball or a flat tip with a diameter of 0.79 mm as the foreign object. It is used for softer elastomers. For harder elastomers, the Shore-D scale applies and a foreign object with a sharp-edged pyramid is introduced as the tip.

Find more information on the hardness of materials in our article on hardness levels and hardness testing.

Various Shore hardnesses for elastomers in general

Elastomer coupling inserts can be classified according to their degree of hardness as follows:

  • Medium degree of hardness: Type A
  • Low degree of hardness: Type C
  • High degree of hardness: Type B, D and E

MISUMI has elastomer stars or elastomer rings in various hardnesses:

  • A = Shore hardness 98 Sh A
  • B = Shore hardness 64 Sh D
  • C = Shore hardness 80 Sh A
  • D = Shore hardness 65 Sh D
  • E = Shore hardness 64 Sh D

Type A

Type A elastomer coupling inserts are the most commonly used elastomer inserts. They have a hardness level of 98 Sh A and have a good combination of vibration absorption and load capacity.

Type C

Type C is the softest elastomer type with a hardness of 80 Sh A. This type has the best damping properties.

Type B, D and E

Types B, D and E are the hardest group of elastomer coupling inserts with a Shore hardness of 64-65 Sh D. They have relatively high torsional rigidity, but rather low damping power.