Cantilever pins/cantilever bearing pins – Design and application

Cantilever pins/cantilever bearing pins are essential fasteners that are used in numerous mechanical systems to store and connect rotating components. They act as pivoting points and contribute to the stability and precision in applications in mechanical engineering and automation. This article introduces various designs and examples of applications of cantilever pins and cantilever bearing pins.

What are cantilever pins?

Axles and bolts are basic mechanical components that are used in many applications, particularly in mechanical engineering. An axle is a component that typically serves as a pivoting point for wheels, rollers or other moving parts. On the other hand, a bolt is a cylindrical connecting element that is used to secure components. Bolts are available in various versions, such as bolts with heads and threaded pins, which are manufactured according to DIN 1445. These bolts are primarily used as fixed bearing and cantilever pins at moderate circumferential speeds, e.g. for rope and roller idler. DIN 1445 defines the specific requirements for the material, shape and application of such bolts.

An cantilever pin combines the properties of an axis and a bolt, that is, it combines the functions of pivoting point and fastening. Cantilever pins are thus used to fasten rotating components such as wheels or rollers to a fixed carrier object and simultaneously serve as a rotating axis for these parts. Due to this dual function, the cantilever pins are used in many mechanical systems where stable fastening and low-friction rotary motion are required.

What distinguishes cantilever pins from other bolts?

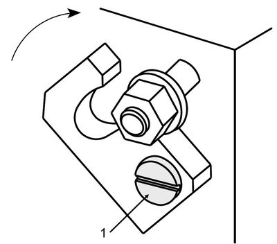
In addition to cantilever pins, there are other specific types of bolts, such as hinge bolts and axle bearing bolts. These are designed for various mechanical requirements and differ in their function and application. As already mentioned, cantilever pins serve primarily as a rotation axis for rotating components and connect them to a fixed carrier. They are designed to transfer both the loads that result from the rotation of the components and to provide a stable fastening. However, cantilever pins are not only limited to the function as a pivot point for rotating components. In certain applications, cantilever pins are also used in a tensile stress design. This special design aims at transmitting and absorbing tensile forces that act along the axis of the bolt.

Axle pin (1) in tensile stress design
Axle pin (1) in tensile stress design

Hinge bolts, on the other hand, are mainly used in applications where transverse loads and shear forces occur, such as hinges of doors or flaps. They generally connect two components via several holes and allow these parts to move relative to one another. The primary function of hinge bolts is to create a stable connection that simultaneously provides the flexibility necessary to enable movements such as rotation or pivoting. In doors, windows and flaps, they serve as a rotating axis that facilitates opening and closing while ensuring the safety and stability of the connection.

Hinge pin (1) in cotter pin design
Hinge pin (1) in cotter pin design

Axle bearing bolts are specifically designed to support shafts or axles. These bolts are an integral part of bearing systems and serve as bearing support points to ensure precise shaft guide and bearings. Axle bearing bolts are designed to support both the radial load from the bearing and the bending moments created by the alignment of the shaft. Shoulder bolts as a sub-form of axle bearing bolts are special screws that are particularly well suited to support rotating components and to connect them at the same time due to their precise fit and high dimensional accuracy. These screws are designed to fit tightly into the bore holes of the parts to be connected. This ensures precise alignment and high stability of the connection. Fulcrum screws are another application area for axle bearing bolts. The attachment in such screws serves as a spacer, bearing point or stopper point for the connected component.

Screw with shoulder (1) with straight slot, for executing rotary movements of connecting parts
Screw with shoulder (1) with straight slot, for executing rotary movements of connecting parts

In addition to a large number of cantilever pins, you will find in the MISUMI online shop a comprehensive range of hinge bolts, axle bearing screws and fulcrum screws.

Another distinguishing feature is the way in which components are fastened to the cantilever pin. Depending on the properties of the parts to be connected and the ambient conditions present, the following designs are differentiated:

Cantilever pins can have a centering collar. This collar or shoulder serves as a stopper to facilitate positioning and prevent axial motion. At the same time, the centering collar is used as an installation aid for setting up tools such as wrenches.

Cantilever pins and axle bearing bolts in articulated arms

In mechanical systems, articulated arms ensure a flexible connection between several components. They are often used in robots, machines and tools to enable movement in different directions. Cantilever pins play a central role in the functionality of articulated arms by acting as pivot points and connecting the various parts of the arm together.

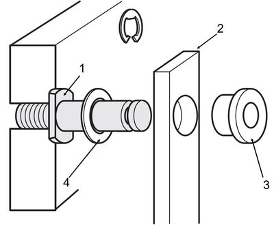
Axle pin with retaining ring groove (1) for supporting articulated arms (2) using sliding bushings (3) and washers (4)
Axle pin with retaining ring groove (1) for supporting articulated arms (2) using sliding bushings (3) and washers (4)

Cantilever pins and axle bearing bolts in cam rollers

Cam rollers are special machine elements used in mechanical systems to precisely control movements along a predetermined path. They are often used in conveyors, automation systems and other applications. An essential component of cam rollers is the cantilever pin. It enables the roller to rotate with little friction and to maintain contact with the cam track or guide rail. In addition, the cantilever pin carries the mechanical loads caused by the movement of the cam roller.

Cam roller (1) with axle pin and L-bracket (2) in a guide mechanism with profile rails (3)
Cam roller (1) with axle pin and L-bracket (2) in a guide mechanism with profile rails (3)

Cantilever pins and axle bearing bolts in rotating mechanisms

Cantilever pins are also commonly used in automated systems and machines that require both linear and rotating movements. One application example is machine tools with which workpieces are precisely positioned and processed. The combination of linear motion and rotation makes it possible to move and simultaneously rotate workpieces along axes in order to carry out various processing steps. The cantilever pins ensure a stable connection between linear and rotating components as well as an efficient transmission of the resulting forces.

Axle pin with flange (1), linear shaft (2), and linear ball bearing (3) in a rotational mechanism (4) for transferring and rotating a workpiece (5). Further information on this example application can be found here.
Axle pin with flange (1), linear shaft (2), and linear ball bearing (3) in a rotational mechanism (4) for transferring and rotating a workpiece (5). Further information on this example application can be found here.

What must be observed when installing and using cantilever pins and axle bearing bolts?

Several important aspects must be observed when assembling and using cantilever pins and axle bearing bolts to ensure the safe and efficient functioning of the connected components. As already explained, cantilever pins and axle bearing bolts are significant connecting elements that can serve as pivot points for rotating components as well as supporting elements in tensile stress applications. Therefore, their installation requires special care and precision.

First, the cantilever pin must meet the specific requirements of the application, including material requirements and mechanical loads. Factors such as diameter, length and material thickness are decisive for the performance of the bolt. In addition, when selecting and using cantilever pins, attention must be paid to the proper condition and the correct alignment and size of the spanner flats in order to enable effective force transmission and prevent the tool from slipping off. Damage to the spanner flats can cause the bolt to become inoperable or untightened, which in turn could impair the maintenance and safety of the connection.

It is also important that the cantilever pin fits precisely into the provided bore holes or bearings. It is crucial to ensure the right degree of play, as this affects both the mobility and the stability of the connection. Too much play can lead to undesirable vibrations and increased wear of the components, and thus damage or failure of the connection in the long term. On the other hand, too little play can increase friction and stress the bolt. This can cause the components to overheat and block the movement.